钢刀钢线在成型加工时,整个图形轮廓的刀口以尽量少拼接为宜,要选择适当的接口位置,以不影响造型美观和便于手工加工为原则。在做模切刀版时应注意以下问题:
模切刀版设计制作
开槽开孔的刀尽量采用整线,线条转弯处尽量圆角,防止出现相互垂直的钢刀拼接。

2.两条线的接头处应避免出现尖角。

3.避免多个相邻狭窄废边的联结,应增大其连接部分,使其连成一块,便于清废。

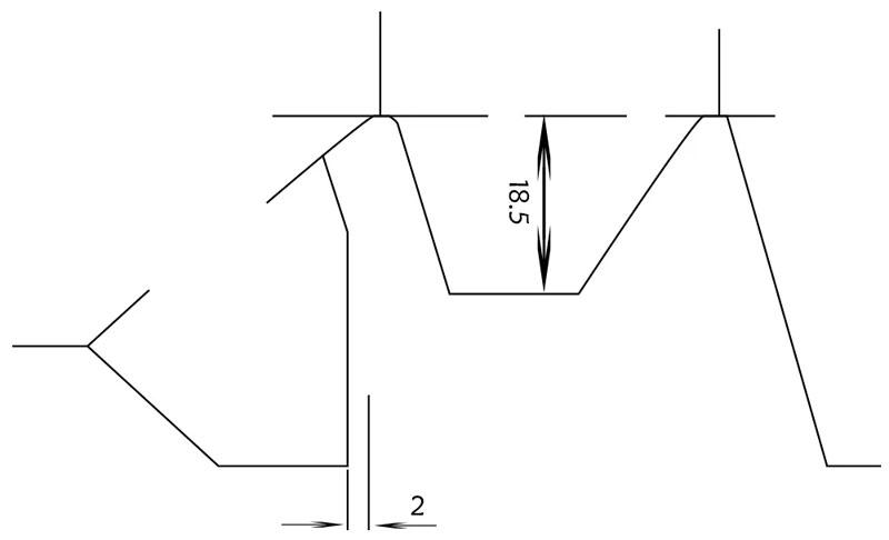
4.防止出现连续的多个尖角,对无功能性要求的尖角,可改成圆角。

防止尖角线截止于另一个直线的中间段落,这样会使固刀困难,钢刀易松动,并降低模切适应性,应改为圆弧或加大其相遇角。

5.切口轻微的越过压痕线,压痕线改为点线会使折叠更容易。


6.勾底的盒子底部折痕出排刀角度最好呈圆弧形,否则沿痕折起来都极易裂口.圆弧不宜过大,否则成型后底部出现小漏洞.

在纸盒需要上胶的部位加点线或是专用的涂胶针孔刀有利于上胶和胶液对纸张的渗入,加强纸盒的粘结牢度。但点线刀或涂胶针孔刀若太高,就会将纸压透,糊盒时胶液会渗透纸张造成纸盒溢胶粘连。
盒型的设计
盒子插口舌头的位置刚好在糊口一侧糊盒,否则糊盒时进入压着部时会出现后一个盒舌撞前一个盒尾的情况造成收纸困难。
纸张丝缕对纸盒的影响
1.纸张是极为纤细的植物纤维牢牢交织而成,纤维受抄纸方向的影响,排列具有方向性,也就是平时所说的丝缕方向。
2.纤维是亲水性物质,很容易从大气中吸收水分。同样,干燥的天气也很容易散发本身的水分,故大气的温湿度也对它的含水量影响非常大。
畅销产品推荐
MWZ1850W

1进纸部

高密度前缘送纸装置,能适应不同厚度纸张的送纸要求,变频控制风量调节,吸风区域可按纸张大小调节并配有大功率风机。
2模切部

采用过载保护机构,当出现意外过载时,主从动分离;独特的模切板框能有效防止模切板下垂和脱离。
3收纸部

托板收纸,灵活自如,大大提高工作效率;光电检测装置,安全可靠,保证收纸快速平稳。